GP242 型 活塞用 C 型组合密封
一、标准材料
C 型密封环:填充 PTFE;
O 型圈:丁腈橡胶、三元乙丙或氟橡胶。
二、概述
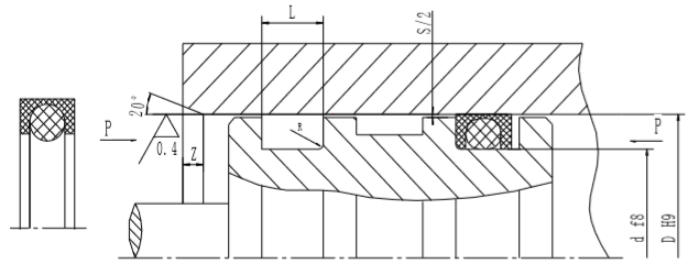
GP242 型活塞用 C 型组合密封由一个填充聚四氟乙烯材料的 C 型密封环和一个 GB1235 型 橡胶圈组合而成。适用于液压与气动往复运动活塞密封,起双向作用。
三、特点
*良好的密封性能
*较小的摩擦阻力,无爬行现象
*双作用密封
*耐腐蚀性能好
四、工况条件

五、订货示例
例:缸孔直径 D=Φ160mm
订货型号 GP242--160

六、沟槽尺寸

注:缸径 D≤ф120mm,建议采用分体式沟槽。
七、规格表

其他尺寸和直径 1500 毫米之内的所有中间尺寸均能提供(包括英制尺寸)。